- 1 关于禅道迅捷版
- 2. 迅捷版的安装
- 2.1 源码包的安装
- 2.2 Windows一键安装包安装
- 2.3 Linux一键安装包安装
- 2.2 Windows一键安装包安装
- 3 迅捷版的升级
- 4 我的地盘
- 5. 项目管理
- 6. 通用看板
- 7. 办公管理
- 7.1 考勤和考勤设置
- 7.2 请假、加班、补班、调休的使用
- 7.3 维护节假日
- 7.2 请假、加班、补班、调休的使用
- 8 文档管理
- 9. 工作流管理
- 9.1 工作流功能简介
- 9.2 工作流的内置流程、数据源、验证规则
- 10. 后台管理
- 10.1 客户端配置
- 10.2 添加和维护部门结构
- 10.3 添加用户和维护用户权限
- 10.4 自定义设置
- 10.5. 通知功能
- 10.5.1 配置邮件通知
- 10.5.2 配置webhook
- 10.5.3 浏览器通知和通知设置
- 10.5.2 配置webhook
- 10.6 插件和二次开发
- 10.7 系统功能
- 10.2 添加和维护部门结构
- 2. 迅捷版的安装
考勤和考勤设置 分享链接
本篇目录
小提示:该功能是禅道迅捷VIP版功能。
办公模块下有考勤、请假、补班、加班、调休、节假日和审批功能。
考勤可以记录员工的上下班签到签退情况。
在考勤页面,你可以查看到我的考勤、部门考勤、公司考勤、考勤明细、补录审核、统计以及考勤设置信息。
新增的功能需要管理员到后台--人员--权限里分配相应的权限,具体的权限分配可以根据实际工作需要灵活分配。

一、 考勤设置
可以直接在考勤的设置里做公司考勤设置、个人考勤设置和部门经理设置。
1.公司考勤设置
可以设置考勤日期、上下班时间、每周工作天数,以及设置是否需要签退。
公司考勤开始的日期:在该日期之前不记录考勤状态。如果不设置则根据实际数据记录考勤状态。默认使用公司开始考勤日期计算考勤状态,如果设置了个人开始考勤日期则使用个人日期。

2.个人考勤设置
可以设置某个用户开始考勤的日期,比较适用于新员工的考勤。

3.部门经理设置
考勤设置里,如果设置为部门经理为审核人的,编辑部门设置负责人。
这里的部门负责人即是部门经理。

二、考勤统计
顾名思义记录的是当前登录帐号的考勤情况。如下图。
系统会默认记录当前第一次登录时间为签到时间,记录退后一次退出时间为签退时间。
还可以对自己的考勤进行补录。

2.部门考勤
部门经理可以查看到所属部门所有员工的考勤情况。
右上角有导出按钮,可以把部门的考勤情况导出。

3.公司考勤
可以查看到整个公司各个部门员工的考勤情况。同样的右上角也有导出按钮,可以把考勤情况导出。

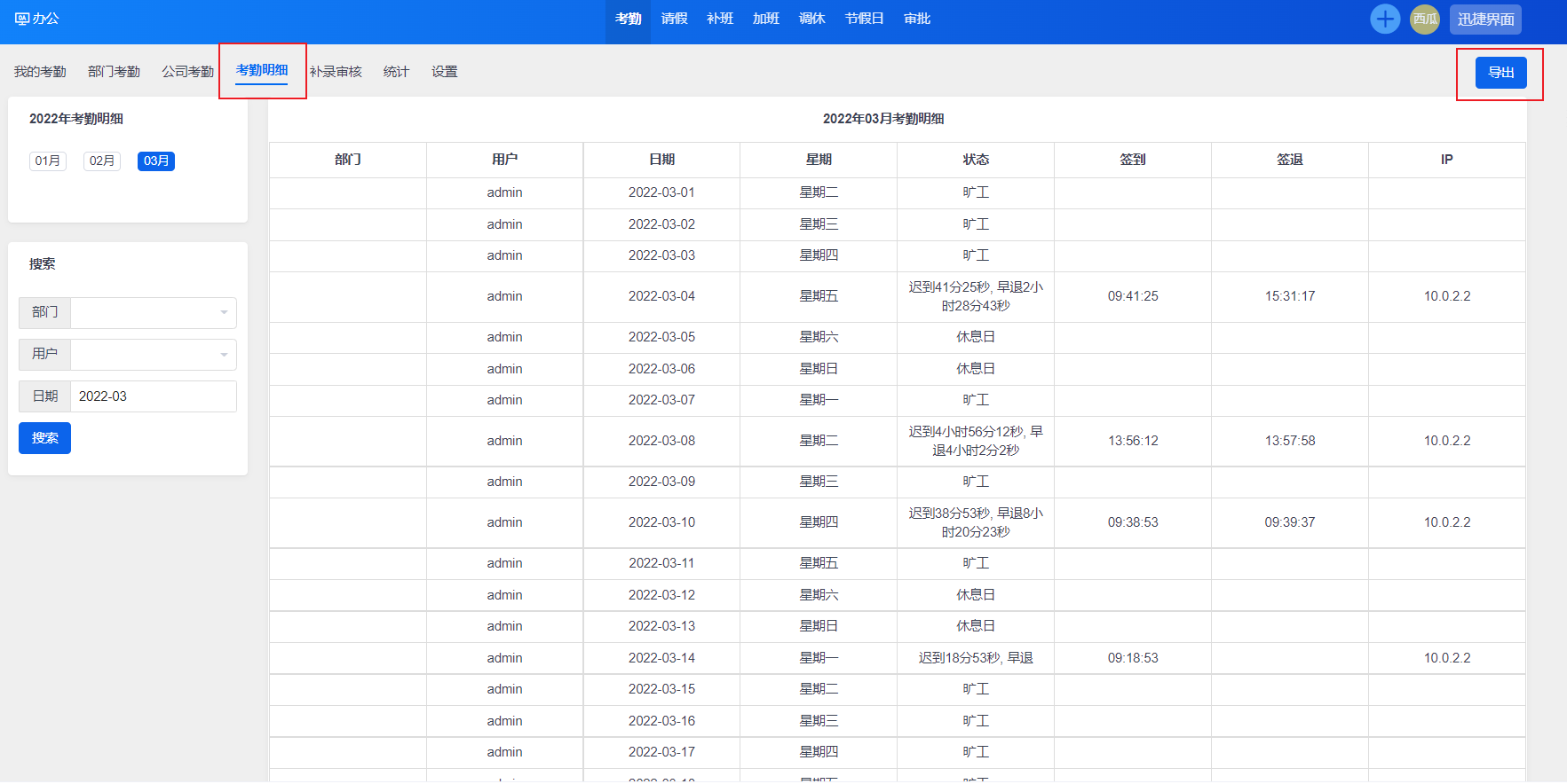
4.考勤明细
查看用户的考勤可以根据月份,或者是通过条件搜索来查看考勤明细。
同样的,考勤明细也是可以导出的。

5.补录审核
员工对系统里的考勤情况有异议,可以进行补录操作,说明具体原因。

补录审核的操作需要需要满足一下几个条件:
1、该用户所在权限分组拥有补录审核的权限。
2、该用户是部门经理且在考勤设置中审核人为部门经理或该用户为考勤设置中设置的唯一审核人。(部门经理可在考勤--设置--部门经理设置中进行设置)
点击通过,那么该员工我的考勤页面的状态显示为正常,
点击拒绝,填写拒绝原因,那么该员工我的考勤页面的状态依旧显示为旷工,还可以继续进行补录等操作。

6.统计
系统会自动计算员工的出勤情况,如有偏差可以手动编辑修改。也可以将统计情况导出。
如果考勤存在未审批的记录,需要先审批然后才能进行考勤统计。

8、审批
可以查看所有的审批信息,通过标签查看。方便考勤的审批。






















精品资料包
1V1产品演示
免费试用增强功能
专属顾问答疑支持


