瀑布项目批量创建阶段,选择阶段负责人后,点击保存报错已解决
悬赏5积分
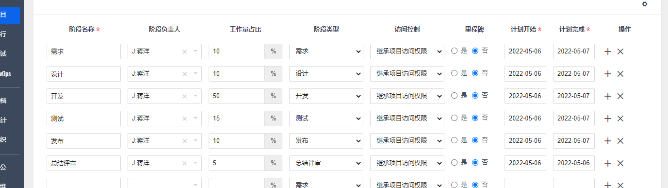
创建阶段信息如下:

报错信息:
10:04:13 ERROR: SQLSTATE[23000]: Integrity constraint violation: 1062 Duplicate entry '14-execution-jiangyang' for key 'team' <p>The sql is: INSERT INTO `zt_team` SET `root` = '14',`account` = 'jiangyang',`role` = '妤傛ê鐪扮粻锛勬倞',`join` = '2022-05-06 10:04:13',`type` = 'execution',`days` = '2',`hours` = '7.0'</p> in lib\base\dao\dao.class.php on line 1381, last called by lib\base\dao\dao.class.php on line 761 through function sqlError.
in D:\xampp\zentaoep\framework\base\router.class.php on line 2643 when visiting programplan-create-1-0
如果不选择阶段负责人点击保存能够正常创建,只要选择阶段负责人点击保存就会报错,该问题在禅道企业版6.5中测试也存在
禅道版本:16.5
安装包类型:源码包
操作系统:Windows Server 2008
客户端浏览器:Chrome
禅道-李锡碧2022-05-06 15:39:30 负责人不要设置相同试试,这儿有个类似的问题,可以等新版本发布升级测试下。 |





精品资料包
1V1产品演示
免费试用增强功能
专属顾问答疑支持


